发布时间:2023年4月17日浏览人数:3044信息来源:涧西区知识产权公共服务平台
为积极推进我区科技成果转化,增强“钱变纸”和“纸变钱”能力,提高专利转化率和实施效率,推动科研创新成果更多惠及区内中小微企业,专用设备制造产业知识产权运营中心不定期发布专利需求征集与推介,免费许可或低价转让给有需求的企业,欢迎咨询!
咨询热线:
15824919931周女士
咨询地址:
涧西区湖北路市场监督管理局一楼大厅(洛阳市专用设备制造产业知识产权运营中心)
专利号:
202110042198X
发明名称:
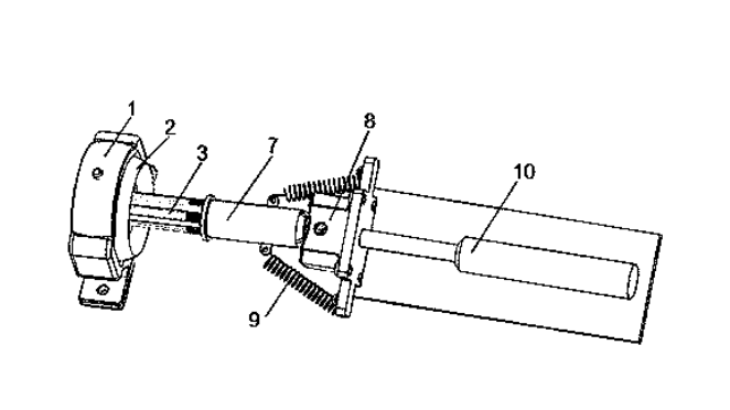
一种自适应无轨连接器
申请日:
20191028
专利权人:
河南科技大学
技术领域:
本发明涉及车辆连接技术领域,具体涉及一种自适应无轨连接器。
解决技术问题:
本发明的目的在于克服现有技术的不足,提供一种自适应无轨连接器,以解决包括中置轴挂车、公交车等无轨运行车辆的载荷量分配问题,根据实际情况增减挂车、车厢数量来增加载荷量或者减少载荷量,以提高运输效率减少不必要的能源消耗、资源浪费。
技术功效:
本发明的有益效果主要表现在以下几个方面:车辆可以根据实际情况通过本专利中的连接器增加或者减少挂车、车厢数量实现载荷量的增减,以提高运输效率减少不必要的能源消耗、资源浪费;
不同与高铁、火车等有轨车辆的对接,也不同于现有中置轴挂车的对接,本发明的连接器应用范围更广,虽然中置轴挂车的对接相比全挂车的对接过程更加简单,对司机的技术要求更低,但是要求司机的技术有一定水准,并不适合新手司机,而自适应无轨连接器采用球铰配合,能够自动适应连接角度,保证即使在主车与副车在对接过程中有一定偏差时也能自己通过调整完成对接。
接纳座内腔独特的构造及锁定机构的构造保证了装置在车辆在运行过程中不会发生脱落的意外情况。
应用领域:
牵引链接器
专利示意图:
