发布时间:2023年3月28日浏览人数:3033信息来源:涧西区知识产权公共服务平台
为积极推进我区科技成果转化,增强“钱变纸”和“纸变钱”能力,提高专利转化率和实施效率,推动科研创新成果更多惠及区内中小微企业,专用设备制造产业知识产权运营中心不定期发布专利需求征集与推介,免费许可或低价转让给有需求的企业,欢迎咨询!
咨询热线:
15824919931周女士
咨询地址:
涧西区湖北路市场监督管理局一楼大厅(洛阳市专用设备制造产业知识产权运营中心)
专利号:
2019221727461
发明名称:
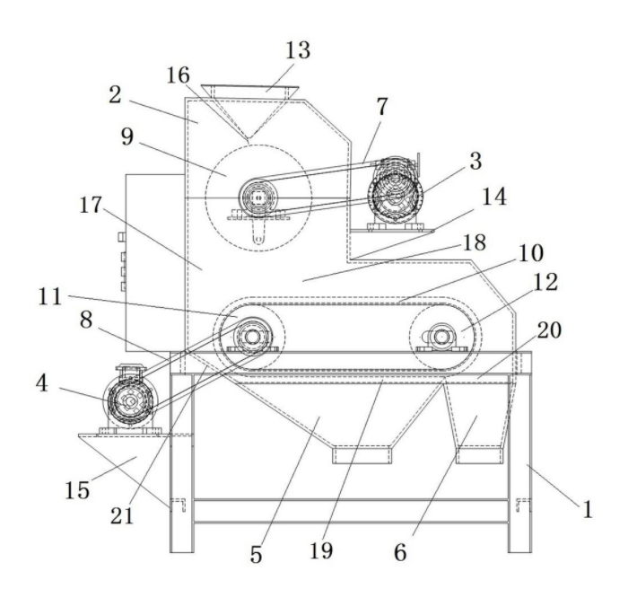
一种种子磁选机
申请日:
20191206
专利权人:
河南科技大学
技术领域:
本实用新型涉及一种种子磁选机。
解决技术问题:
种子的质量直接影响着农作物的产量,因此将劣质种子筛除出去对于农业生产具有重大意义。
劣质种子主要体现在种子表面有裂纹、虫眼,磁选法是一种筛选表面有裂纹、虫眼的种子的有效可行的方法,首先将所有种子与磁粉进行混拌,优质种子上仅在其表面附着一层磁粉,而劣质种子上因为有裂纹、虫眼,所以除了在其表面附着一层磁粉外,还会在裂纹、虫眼中积聚一定量的磁粉,而种子上携带的磁粉越多,其产生的磁场力越大。
待种子与磁粉混拌后,将种子洒落在一个转筒上,转筒内设有永磁体,合理设置永磁体的磁场力的大小,则转筒能够将携带磁粉较多的劣质种子吸附到转筒表面,而优质种子因为携带的磁粉较少,不会被吸附在转筒上;所以在转筒转动的过程中,优质种子会直接从转筒上掉落进专用的优质种子出料口,而劣质种子则会随转筒转动直至被专用机构从转筒表面刮落而落进劣质种子出料口,如此便将劣质种子从优质种子中筛除出去。如授权公告号为CN209393341U的实用新型专利文件中记载的一种用于种子筛选的高效磁选装置就是通过这种方式实现种子的筛选。
上述磁选装置虽然能够在一定程度上将劣质种子筛选出来,但是,种子在落至转筒上时,种子与种子之间会出现堆叠现象,会出现部分劣质种子无法被吸附的情况,最终种子中劣质种子的占比仍然较高。
技术功效:
本实用新型的目的在于提供一种种子磁选机,用于解决现有技术中磁选机筛选质量差导致筛选过后的种子中劣质种子占比较高的问题。
本实用新型所提供的种子磁选机的有益效果是:该种子磁选机中设有滚筒磁选装置和输送带磁选装置,种子经过至少两级筛选,种子中劣质种子的占比大大降低,提高了种子的优质比率;另外,相比于反复在一个只包括一个磁选装置的种子磁选机中筛选同一批种子,该种子磁选机可以连续筛选,连贯性好,且筛选效率较高;而且,种子落在输送带上后,在运送的过程中会被逐渐铺开,这样在经过磁辊时,可以减少种子堆叠的情况,进而可以降低因种子堆叠而导致劣质种子无法被吸附在输送带上的可能性。
应用领域:
种子和根茎处理、磁力分离、磁选机、材料科学、凝聚态物理学、磁场
专利示意图:
